找回密码
 立即注册
首页 业界区 业界 Django实战:自定义中间件实现全链路操作日志记录 ...

Django实战:自定义中间件实现全链路操作日志记录

拍棹 2025-9-25 20:59:13
一、中间件

介绍

在 Django 中,中间件(Middleware)是一组轻量级、底层的插件系统,用于全局地改变 Django 的输入和输出。中间件可以在请求被处理之前和响应返回之前执行代码,从而实现各种功能,例如跨域资源共享(CORS)、用户认证、日志记录等。
激活中间件

若要激活中间件,需要添加到settings.MIDDLEWARE中

  • 每个中间件组件由字符串表示:指向中间件工厂类的完整 Python 路径。
  • 需求注意中间件的添加顺序。因为中间件有执行顺序,而且中间件之间可能有依赖关系。
  • 中间件的全局执行顺序

    • 请求阶段:按settings.MIDDLEWARE中从上到下的顺序执行。
    • 视图处理:请求到达视图函数。
    • 响应阶段:按settings.MIDDLEWARE中从下到上的顺序执行。

  1. MIDDLEWARE = [
  2.     "corsheaders.middleware.CorsMiddleware",  # CORS跨域支持
  3.     "django.middleware.security.SecurityMiddleware",
  4.     "django.contrib.sessions.middleware.SessionMiddleware",
  5.     "django.middleware.locale.LocaleMiddleware",  # I18N多语言支持,注意放置顺序
  6.     "django.middleware.common.CommonMiddleware",
  7.     "django.middleware.csrf.CsrfViewMiddleware",
  8.     "django.contrib.auth.middleware.AuthenticationMiddleware",
  9.     "django.contrib.messages.middleware.MessageMiddleware",
  10.     "django.middleware.clickjacking.XFrameOptionsMiddleware",
  11.     # "myapp_system.operate_log.services.OperateLogMiddleware",  # 操作日志开关:如果数据库磁盘IO性能一般,建议关闭
  12. ]
复制代码
生命周期

中间件生命周期

  • 请求阶段:process_request(request):在视图函数被调用之前执行,用于处理请求。如果返回 HttpResponse 对象,则后续的中间件和视图不会被调用,直接返回响应。
  • 视图阶段:process_view(request, view_func, view_args, view_kwargs):在视图函数被调用之前执行,可以用于根据视图函数的参数或请求信息进行额外处理。
  • 响应阶段:process_response(request, response):在视图函数返回响应后执行,用于处理响应对象,可以修改响应内容或响应头。
  • 异常阶段:process_exception(request, exception):当视图函数抛出异常时执行,用于处理异常并返回一个 HttpResponse 对象。
内置中间件示例

  • django.contrib.auth.middleware.AuthenticationMiddleware:Django内置的认证中间件,实现将 user 属性添加到每个传入的 HttpRequest 对象中,表示当前已登录的用户
  1. class AuthenticationMiddleware(MiddlewareMixin):
  2.     def process_request(self, request):
  3.         if not hasattr(request, "session"):
  4.             raise ImproperlyConfigured(
  5.                 "The Django authentication middleware requires session "
  6.                 "middleware to be installed. Edit your MIDDLEWARE setting to "
  7.                 "insert "
  8.                 "'django.contrib.sessions.middleware.SessionMiddleware' before "
  9.                 "'django.contrib.auth.middleware.AuthenticationMiddleware'."
  10.             )
  11.         request.user = SimpleLazyObject(lambda: get_user(request))
复制代码
二、自定义中间件

中间件钩子函数

process_view()中间件钩子函数

  • 语法:process_view(request, view_func, view_args, view_kwargs)
  • 调用顺序:process_view() 只在 Django 调用视图前被调用。
  • 返回

    • 如果它返回 None ,Django 将继续处理这个请求,执行任何其他的 process_view() ,然后执行相应的视图。
    • 如果它返回 HttpResponse 对象,Django 不会去影响调用相应的视图;它会将响应中间件应用到 HttpResponse 并返回结果。

基于类的中间件

基于类的自定义中间件格式

  • 语句response = self.get_response(request),将__call__()方法中的代码分为两部分
  1. class SimpleMiddleware:
  2.     def __init__(self, get_response):
  3.         # 执行一次性配置和初始化工作
  4.         self.get_response = get_response
  5.     def __call__(self, request):
  6.         # 每个请求调用一次,在视图函数被调用之前执行
  7.         response = self.get_response(request)
  8.         # 每个请求调用一次,在视图函数被调用之后执行
  9.         return response
复制代码
三、实战案例

操作日志功能

通过自定义中间件,实现Django操作日志记录功能

  • 第1步:定义类OperateLogMiddleware,方法__init__()中,添加exclude_urls排除不需要记录的URL的列表,和一个字典log_data用于临时存放日志信息。
1.png


  • 第2步:在执行视图函数之前,向字典log_data记录请求方法、请求路径、操作IP、浏览器Agent信息等
2.png


  • 第3步:在执行视图函数之后,向字典log_data记录用户ID、业务状态码、HTTP状态码、响应数据、返回结果和执行时间
3.png


  • 第4步:process_view()中间件钩子函数中,向字典log_data记录视图名称、Action名称、资源ID
4.png

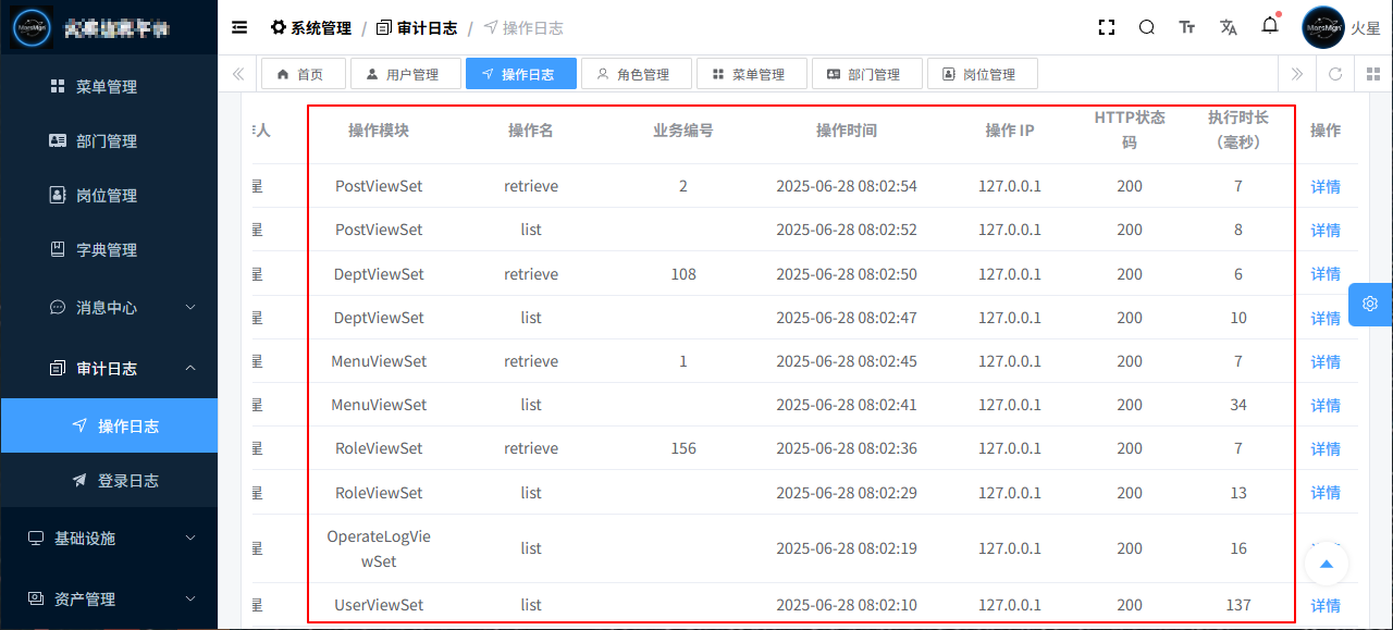
第5步:字典log_data记录的操作日志信息,通过Celery异步任务,写入数据库。实现操作日志记录功能。
代码运行效果:
5.png

查看完整代码:下载地址
参考资料


  • Django 自定义中间件
  • Django 中间件
您正在阅读的是《Django从入门到实战》专栏!关注不迷路~

来源:程序园用户自行投稿发布,如果侵权,请联系站长删除
免责声明:如果侵犯了您的权益,请联系站长,我们会及时删除侵权内容,谢谢合作!

相关推荐

2025-12-11 11:52:25

举报

您需要登录后才可以回帖 登录 | 立即注册